
装配式政策|河北省住房和城乡建设厅关于发布《城市综合管廊工程设计规范》的公告
由京津冀三地协同编制的《城市综合管廊工程设计规范》(编号为DB13(J) 8528-2023)已经本机关审查并批准为河北省工程建设地方标准,现予发布,自2023年7月1日起实施。其中,第5.5.2、7.7.3条为强制性条文,必须严格执行。原...

由京津冀三地协同编制的《城市综合管廊工程设计规范》(编号为DB13(J) 8528-2023)已经本机关审查并批准为河北省工程建设地方标准,现予发布,自2023年7月1日起实施。其中,第5.5.2、7.7.3条为强制性条文,必须严格执行。原...
北京市住房和城乡建设委员会 北京市财政局 关于印发《北京市建筑绿色发展奖励资金示范项目管理实施细则(试行)》的通知 各区住房和城乡(市)建设委员会、财政局,北京经济技术开发区开发建设局、财政审计局: 为深入推进本市建筑绿色发展,规范建筑绿色...

作为工程建设领域营商环境优化的一项重要举措,上海正在全力推进建筑师负责制,发挥专业优势和技术主导作用,提升建筑质量和品质。 日前,上海市建筑建材业市场管理总站发布了《上海市建筑师负责制试点项目招标文件示范文本(试行)》,旨在指导建设单位编制...
关于印发合肥市智能建造试点企业(产业基地)、试点工程项目评价指引的通知 合建设〔2023〕9号 各县(市)区住建局,各开发区建发局,各有关单位: 为贯彻落实国家和省市关于智能建造政策要求,根据合肥市人民政府办公室关于印发《合肥市智能建造试点...
各区住房城乡建设和水利局,各相关单位: 根据《广东省住房和城乡建设厅等部门关于加快新型建筑工业化发展的实施意见》(粤建科〔2022〕99号)及装配式建筑示范城市相关工作要求,我局组织市装配式建筑与智能建造协会和装配化装修相关单位结合佛山产业...
山西省住房和城乡建设厅 关于印发《绿色建筑发展专项规划编制导则(试行)》的通知 晋建科函〔2023〕336号 各市住房和城乡建设局: 《绿色建筑发展专项规划编制导则(试行)》经2023年5月29日第7次厅长办公会审议通过,现印发你们,请遵照...

住房和城乡建设部办公厅关于 开展智能建造新技术新产品创新服务 典型案例应用情况总结评估工作的通知 河北、山西、辽宁、吉林、江苏、浙江、安徽、福建、江西、山东、河南、湖北、湖南、广东、广西、四川、陕西省(自治区)住房和城乡建设厅,北京、天津、...
嘉峪关市人民政府办公室 印发关于进一步加快推进装配式建筑的实施方案的通知 嘉政办发〔2023〕49号 各街道办事处、郊区工作办公室、市政府各部门、在嘉各单位: 《关于进一步加快推进装配式建筑的实施方案》已经市政府第46次常务会议研究同意,现...
乌鲁木齐市人民政府办公室 关于印发乌鲁木齐市智能建造试点城市实施方案的通知 乌鲁木齐县、各区人民政府,乌鲁木齐经济技术开发区、高新技术产业开发区、甘泉堡经济技术开发区(工业区)管委会,市属各委、办、局: 《乌鲁木齐市智能建造试点城市实施方案...

深圳市福田区住房和建设局 关于建设工程建筑节能、绿色建筑和装配式建筑执行情况月度通报 各建设、设计、施工、监理单位: 为贯彻落实“3060”碳达峰、碳中和各项工作要求,稳步推进福田区“零碳示范区”建设,确保我区房屋建筑工程严格落实建筑节能、...

各县(区)住建局、发改委、自然资源和规划局,开发区建设城管局、经发局,武功山社会发展建设局、经发局: 为规范我市装配式建筑建设工作流程和机制,2021年5月市住建局联合市发改委、市自然资源和规划局制定了《萍乡市推进装配式建筑实施细则(试行)...
青岛市住房和城乡建设局 关于认定第四批青岛市装配式建筑产业基地的通知 各有关单位: 为推进装配式建筑产业基地建设,促进我市装配式建筑产业发展,根据《山东省装配式建筑产业基地管理办法》(鲁建节科字〔2017〕29号)、《关于申报青岛市装配式建...

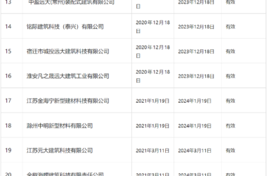
南京市建筑工程质量安全监督站 关于发布装配式建筑工程部品部件生产技术能力登记情况的通告 截至2023年6月12日 各有关单位: 根据《关于印发[南京市装配式建筑工程质量安全管理办法(试行)]的通知》(宁建规字〔2017〕2号)要求,现将装配...

关于江西省装配式建筑示范工程案例(第一批)的公示 根据《关于加快推进江西省装配式建筑发展的若干意见》(赣建字〔2020〕11号)和《关于组织申报装配式建筑示范工程案例的通知》(赣建建 〔2023〕1号)要求,经企业申报、各设区市主管部门推荐...

关于公布福建省第十二批装配式混凝土部品部件生产企业名单的通知 闽建办筑函〔2023〕23号 各设区市建设局、平潭综合实验区交建局: 根据省政府办公厅《关于大力发展装配式建筑的实施意见》(闽政办〔2017〕59号)的要求,各地积极投资建设满足...
关于全省智慧工地建设推进情况的通报(第二期) 各市、州、直管市、神农架林区住(城)建局: 为进一步压实工作责任,加快推进落实智慧工地建设阶段目标任务,现将有关情况通报如下: 一、智慧工地推进情况 (一)总体推进加速。自5月19日,省厅下发智...

关于印发《关于加快推进福建省智能建造发展的工作方案》的通知 闽建筑〔2023〕13号 各设区市建设局,平潭综合实验区交建局: 为贯彻落实住房城乡建设部等部门《关于推动智能建造与建筑工业化协同发展的指导意见》《关于加快新型建筑工业化发展的若干...
各设区市建设局、平潭综合实验区交建局,各有关单位: 为贯彻落实《福建省绿色建筑发展条例》和城乡建设领域碳达峰行动要求,进一步规范我省绿色建筑设计与审查工作,提升绿色建筑工程质量,省厅组织编制了《福建省绿色建筑设计与审查实施细则(征求意见...
由京津冀三地协同编制的《绿色建筑设计标准》(编号为DB13(J) 8526-2023)已经本机关审查并批准为河北省工程建设地方标准,现予发布,自2023年7月1日起实施。其中,第4.4.7、7.4.1条为强制性条文,必须严格执行。原《绿色建...
《被动式超低能耗建筑节能构造(十二)》(双卡槽限位点连式现浇混凝土内置保温系统)(统一编号:DBJT02-230-2023,图集号:J23J277)已经本机关审查并批准为河北省工程建设标准设计,现予发布,自2023年9月1日起实施。 河北省...