来源:钢构联盟
工程简介
本方案为网架大棚工程,屋盖为钢网架结构,支撑形式为上弦支撑螺栓球节点。材料主要为钢管和螺栓球,采用高强度螺栓连接。根据本方案的特点钢网架的安装方法为:网架结构在地面拼装,利用拔杆及绞磨作为起重设备,采用分块吊装的安装方法进行安装。
工程材料
1.网架杆件采用高频焊管或无缝钢管。杆件、支座、钢板、肋板其材质选择《碳素钢结构钢》GB700-88的Q235B材质。
2.焊材匹配:选用E43系列电焊条,其质量符合国家标准《碳钢焊条》GB5117的规定。
3.所有材料均具有质量证明文件(原材材质单)。
施工部署
(一)、施工人力安排
为确保工程按期保质的完成,并分制作和安装两块对工程施工力量进行安排。
厂区车间制作力量部署:针对本方案的网架制作成立了配备材料供应、图纸审查、翻样、下料、切割等职能班组,负责制作准备、技术衔接、质量监控等方面全过程管理,并接受业主、质监、设计等的监督。
(二)、网架成品运输保护措施
(1)、零部件储存保护:部件储存在通风和干燥的仓库内,若存放露天,应作好保护措施。部件在搬运、装卸及储存中要防止变形碰伤。部件储存应按不同工程不同规格、型号编号存放。并作好标记。
(2)、网架运输保护:杆件在装车发运前按编号打包捆扎,螺栓球编号用铁笼子装运。杆件及螺栓球用铲车或行车吊到载重汽车内,要堆放整齐、平整,并保证运输过程中安全。
(3)、施工现场保护:
1)、网架部件在运到施工现场后,应按编号堆放整齐,场地要求平整,且要采取防雨、防湿保护措施。
2)、施工现场零部件要派专人看管。
(三)、现场安装力量部署
1.劳动力配备:
各施工班组由现场施工项目部按施工进度要求实行流水作业,统一协调,保证工序的顺利搭接,并随时调配力量,以避免误工。



安装方法的选择
(一)、安装方法的选择
本方案包括1#大棚、2#大棚和3#大棚三部分,本节中以1#大棚为例做详细说明。1#大棚结构工程分为2-9/B-K和10-17/B-K两部分,根据实际现场特点,网架面积大、高度高。我施工人员把网架安装初步定为地面拼装,整体吊装的安装方法,该方法我公司已经在多个工程使用,实践证明该方法有如下优点:
a.施工工期短,省去网架构件的垂直运输费用。
b.工人在地面拼装,对高空作业的保护措施要求较低。
(二)、网架的拼装
(1)、网架具体拼装
(a)在将单元拼接成整体时,网架单元应具有足够的刚度并保证自身的几何不变性。否则,应采取临时加固措施。
(b)网架单元的具体拼装为:
网架单元是由杆件、螺栓球及配件拼装而成。我方施工人员可以将杆件、螺栓球及配件个在地面上进行小单元的拼装。网架单元的安装由中间位置向两边延伸拼装,上下弦同时安装,跟踪检测安装尺寸。在每个螺栓球上的各个杆件全部安装后,要及时检查螺栓是否拧紧到位,不可有松动和缝隙,并在下弦做好临时固定点。各螺栓球支座要求平稳放置。网架在安装下一个网格时要复查前一个网格节点高强螺栓是否拧紧到位,不得有松动。网架构件全部安装完成后,检查每个螺栓球节点,测量上下弦轴线,水平标高及挠度,其偏差必须在允许范围内,然后装配式研发安装支托,拧紧支座螺栓,待全部完成后,去掉临时支撑点,转移至下一道工序。网架从制作到安装应逐一进行标识。
(2)、网架施工顺序
下弦节点→下弦杆→腹杆及上弦节点→上弦→校正→拧紧螺栓
a.下弦杆与球的组拼:连接下弦球与杆件的高强螺栓螺纹一次拧紧到位。
b.腹杆与上弦球的组装:腹杆与上弦球的组合就成为向下四角锥,腹杆与上弦球连接的高强螺栓是全部拧紧的,腹杆下端连接下弦的三只螺栓只能拧紧一只,另两只是松的,主要是为上弦杆的安装起松口作用。
c.上弦杆的组装:三根上弦杆组合即成向下四角锥体系。上弦杆安装顺序应由内向外。根据已装好的腹杆体排列。高强螺栓先后拧紧。

d.验收时,应检查网架的纵横网架用高强螺栓连接时,按有关规定拧紧螺栓,并应按钢结构防腐蚀要求进行处理。交工向边长偏差,支撑点的中心偏移和高度偏差。
(三)、拼装完成单元体的检查验收
单元体拼装是网架安装的基础工作,也是质量保证的基础,必须严格控制拼装质量,为网架总拼装打好基础。网架单元体拼装的允许偏差见表:拼装单元体的允许偏差。

网架单元拼装时,其节点及杆件表面干净,没有明显的疤痕、泥沙和污垢。拼装单元网架应检查网架尺寸应在允许偏差范围内。
(四)、网架的安装具体顺序
先安装北侧的网架即(10-17/B-K轴部分),具体安装如图:


网架结构的安装由中间部分开始,向周圈扩散,三面同时开始安装。此安装方法可以提供多个施工作业面,加快网架的安装进度。
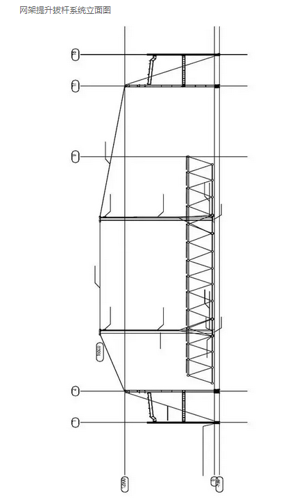
1.网架提升装置的制作与安装
网架提升装置布置:
(1)提升拔杆布置:
网架结构主体重量为67.5吨,在施工过程中因为支座位置的影响,边跨上弦与腹部杆件不做安装提升,待网架提升到就位标高另行安装,所以提升重量远远小于网架最大重量,经过计算最大提升重量为62吨。对此计划采用4根φ426×10的独脚拔杆对网架进行提升施工,网架提升拔杆的计算长度按照16.5米考虑可满足施工要求。根据本方案的建筑形式和网架设计与布置的特点,进行提升拔杆的布置,并经过设计计算满足要求。
(2)拔杆布置原则:
不妨碍网架提升;不妨碍网架拼装;受力均匀;拔杆基础牢固可靠,支撑系统牢固可靠。
(3)网架提升点位布置:
针对提升过程中网架结构的安全性,网架提升点位由专职起重工进行拴挂,责任到人,要求拴好一个合格一个,经最后技术人员检查合格后,方可使用。网架提升点位布置详见网架吊点布置图
(4)绞磨布置:
总体布置原则为施工安全,统一指挥方便,走绳导向通畅。绞磨布置详见网架提升拔杆系统布置平面图,具体布置可根据现场条件进行局部调整。
(5)网架提升人员计划:
网架提升时,4根拔杆需用4台绞磨,操作人员需要12人。
(6)网架提升过程的控制:
网架提升时共分三步进行,第一次提升高度为1m,达到此高度后停止提升,观察网架是否有变形,如没有任何变形及异常情况,即可再次起吊,提升高度达到两米时,再次停止提升,将网架调整平行后,再次观察网架的变形情况,如无任何变形及异常情况,即可将网架吊装完毕,起吊观察时间每次不小与半小时。



2.网架提升验算
网架中间部分在场地内地面拼装,先安装北侧的网架即(10-17/B-K轴部分)。使用拔杆将网架结构进行提升,随着提升高度的增加将网架提升就位。现以一根拔杆进行提升验算。
(1)重量统计:
经过计算分析拔杆的最大提升重量Q’=15.5T=155KN。Q=Q’×K=155×1.2=186KN K-保险系数取1.2;
(2)计算荷载:
计算荷载P=(Q+q)K=(186.4+0.5T)×1.1=205.59KN,q-索具重0.5T=5KN,K-动载系数取1.1,即滑车受力P=205.59KN;
(3)钢丝绳与绞磨的选用:
滑车出绳端索引力S:
S=P/k1=205.59/6.73=30.548KN
k1:滑车组机械效益系数,起重滑车组采用“四四走八”,有效绳数8根,1个导向滑车,k1=6.73
滑车组钢丝绳选用:安全系数取K=5.5,
钢丝绳的破断拉力为PP=SK=33.572KN×5.5=184.646KN
选用钢丝绳Φ22-6×37+IWR抗拉强度≥1770MPa,其破断拉力为273.00KN 绞磨选用:5T绞磨一台。
绞磨的固定:绞磨骨架后部采用钢丝绳索死,钢丝绳与钢柱基础予以固定。
(4)拔杆底座的计算:
拔杆支座垂直压力: Pc=P+Pt×Sin30°+G+T+S式中:
滑车组受力P=205.59KN
缆风绳受力Pt=3.891KN
拔杆重力G=16.5M×102.59Kg/M=16.927KN
风绳予拉力给拔杆垂直压力:
T=(n-1)×t×Sin30°=(4-1)×3.891×50%×0.5=2.918KN
上式中t为风绳予拉力取缆风绳最大拉力的30%-50% 出绳端拉力S=33.572KN
Pc=205.59KN+3.891KN×0.5+16.927KN+2.918KN+33.572KN =260.952KN
拔杆底部地面承载能力计算:Pc/A≤[R]
式中:Pc-对地面的垂直压力
A-地面的受压面积
[R]-地面的容许承载力,取160KN/m²
A≥Pc/[R]=260.952/160=1.631m² 即拔杆底座面积应≥1.631m²
(5)拔杆强度及稳定性验算:
拔杆中部截面挠度最大,对钢管拔杆一般只进行稳定性验算
中部所受正压力 P中= Pc-G+G中=260.952-16.927+16.927/2=269.41KN
中部所受弯矩 M中= (S+P)× e²-Pt(l/2× Sin30°+ e1×Sin30°) =(33.572+225.94)×0.3-3.891(20/2×0.866+0.2×0.5) =43.768KN〃M
钢管Φ426×10力学性能:W=2656.08CM³ , Fm=130.69CM³
回转半径r=0.25×√(D²+d²) =0.25×√(42.6²+40.6²)=14.7CM
式中:D为钢管外径 d为钢管内径
长细比λ=l/r=2000CM/14.7CM=136.05
稳定系数经查得Φ=0.402
稳定验算σ=M中/W+ P中/ΦFm
=43768/2656.08+274635/(0.402×13069)=68.753MPa<[σ]=162MPa
经计算拔杆符合要求.
(6)提升锁具选用:
F=P/(4×cosβ)=205.59KN/(4×cos45)=72.687KN,
式中:F-吊索受力,P-滑车受力205.59KN,
β-吊索与垂直线夹角取45度
选用钢丝绳Φ18-6×37+IWR抗拉强度≥1770MPa,其破断拉力为182.00KN,双股至少可承受364KN。
β小于等于45度,即h大于等于1875mm。
3.提升拔杆的制作与安装:
(1)拔杆底部处理与加固:
根据施工现场地面的实际情况,不需要对拔杆底部进行处理。
(2)拔杆的构造:
独脚拔杆由一根独立钢管、底座、滑车组和绞磨组成。拔杆采用钢管制成,顶部拉缆风绳,固定在框架梁柱上,所有揽风绳必须拉紧。拔杆顶部及底部分别设置滑轮组和导向滑轮组,使用绞磨提升重物。缆风绳与滑轮车组钢丝绳需计算确定。滑车轮数:动滑轮为4,定滑轮为4,绞磨拉绳可受拉力为5吨。拔杆杆顶部焊有带孔的封头钢板,设卡板用以系接缆风绳。紧靠顶部设悬臂板,可悬挂起重滑车。拔杆的下部支撑在方木上,为防止位移,须用绳索锚固。
(3)拔杆的制作:
将网架提升拔杆所使用的钢管运抵施工现场,选择拼装场地,进行钢管的长度测量与外观检查,开始拔杆的组装焊接。使用鲜艳色的油漆对拔杆进行编号标识,便于统一管理。 组装完成的拔杆复测与校正后,安装滑轮组和穿套钢丝绳,注意走绳的跑向,同时安装布置缆风绳。全部组装完成的拔杆经检查无误后,可以进行就位。
(4)拔杆的安装:
在拔杆底部放置方木。拔杆的就位可利用汽车吊进行提升安放到指定位置,同时张拉固定相应的缆风绳,缆风绳下端固定在钢柱上,保证位置正确,走向清晰,固定牢固。拔杆的下部增设与上部应对应的底部拉结绳,外端绑固在周边钢柱上,将拔杆的底部连接固定牢固,防止水平侧向移动。
(5)钢丝绳与建筑物的连接处,采取保护措施。先将直径为89mm的钢管断面一分为三,然后把剖开的钢管安放在建筑物的棱角处,保护建筑物免受破坏和钢丝绳因断丝而受损。钢丝绳的固定卡扣不少于四个,要求牢固可靠无松动。
4.绞磨机的安装
结合施工现场实际情况,选定绞磨的安放位置,待拔杆安立完毕,开始绞磨机的安装。使用钢丝绳将绞磨机固定在建筑物的框架柱上,并将提升用的走绳缠绕在绞磨的滚动轴上,同时安装启动开关闸,接通电源后,网架提升用绞磨机即安装完毕。
5.网架的加固
网架承受荷载考虑网架自重、活荷、风荷,使用SFCAD设计软件对网架重新进行受力分析,网架吊装点的弦杆采取现场加固措施,以保证网架吊装的整体稳定性及网架结构的安全,加固采用的方案为采用两根8#槽钢抱焊于网架弦杆上,加大网架杆件的有效截面面积,保证网架杆件在吊装过程中不弯曲,不变形。
施工安全保证措施
(一)生产安全保证措施:
1.由安全部门依照国家及省市有关安全法规,制订各级部门和相关责任人的安全管理制度,做到任务明确,有章可循。各项经济承包有明确的安全指标和包括奖惩办法在内的保证措施,并层层签订责任状,做到严肃纪律,奖惩分明,确保生产安全。
2.对所有进入现场的施工人员进行安全教育, 树立安全第一的思想,严格执行各项规章制度。现场要有明显的安全标语牌,落实各级安全责任制,并做考核工作。
3.施工现场周围采取围护、隔离措施保障周围道路场地的安全畅通,以保证邻近工程的安全施工,以及道路的安全畅通。
4.对本方案设立项目部专职安全人员确保制度的落实。
5.现场施工人员的安全防护用具齐全,进场戴安全帽,高空作业系安全带,高空安全防护设施齐备有效。
6.现场用电要架设符合要求的设施线路,严禁私拉乱扯及随地跑线杜绝隐患。
7.按施工现场场容管理规定,实行区域负责制,对危险部位、地点悬挂有针对性的警告标志牌。
8.严格执行建设主管部门施工现场安全防护规定,在施工作业前,制订有针对性的安全技术措施,书面交底。
9.“四口”防护严格安全操作规程的要求进行,进入现场人员一律戴安全帽,高空作业人员必须挂安全带,穿防滑鞋。
10.配电箱采用铁皮焊制的防雨、防尘移动式电闸箱,按总配电条箱、分配电箱、开关箱三级设置。总配电箱内设置总自动开关,动力和照明的线路分路设置,分配电箱、开关箱设置漏电保护器,各电闸箱内分别设置接零线、保护零端子。
11.施工现场要有严格的分片包干和个人岗位责任制,做到现场清洁,材料、构件码放整齐,怕潮,怕水淋日晒的材料要有防潮和遮盖措施。
12.工人操作要做到干活脚下清,活完料净,建筑物内的垃圾、渣土及时清运。
13.施工过程中注意安全,施工现场要戴好安全帽。不准穿拖鞋、高跟鞋及塑料鞋上岗操作,传递物品、工具要在工具袋装好,上下平台走专用通道。焊接时要远离易燃易爆物。防止高空坠落、磕、砸、碰、摔等意外事故。
(二)施工安全生产管理措施:
1.建立健全安全管理机构,成立以项目经理为组长的安全管理小组,配备安全管理人员,实行专管与群管相结合的管理体系。
2.在施工前安全管理小组应进行危险辩识和评价,制定相应的预防措施。
3.建立以安全生产责任制为核心的各项安全管理制度。主要包括各级各类人员的安全生产责任制、安全生产目标管理制度、安全检查制度、安全教育制度、安全技术措施计划制度、安全交底制度、特种作业人员管理制度、安全验收制度、班组安全活动制度、事故报告与调查处理制度、安全奖罚制度等。安全生产责任目标层层分解,落实到人,严格考核,考核结果与经济挂钩。
4.加强安全教育,加强人员管理。加强现场管理人员的安全意识,使每一个管理人员做到关心安全工作并在实际的管理工作中坚持做到安全第一,认真履行职责。严格执行三级安全教育和安全交底制度,未经教育和交底的人员不准上岗作业。坚持经常性教育,教育职工由“要我安全”变为“我要安全”。
5.特种作业人员必须持有效操作证上岗。严格人员管理,规范用工,严肃查处违章行为,耐心说服教育,杜绝违章指挥、违章操作和违反劳动纪律的行为,使员工做到不伤害自己,不伤害他人、不被他人伤害。进入施工现场必须佩戴安全帽,高空作业必须佩带安全带,安全带要高挂低用。
6.严格监督检查,消除事故隐患。项目部每旬定期检查;项目经理和安全员坚持每日安全巡视。对检查发现的事故隐患,定人、定时间、定措施进行整改,不留事故隐患。脚手架、施工用电、机械设备、防护设施等要经验收合格后才能投入使用。
7.积极开展班前安全活动,广泛开展安全生产宣传,推广安全生产先进经验,促进施工安全管理,保障施工安全。
(三)网架提升安全保证措施:
1.现场成立网架提升领导小组,现场提升总指挥为组长。按主要环节和岗位下设四名组员分口负责观察及时汇报,接受统一指挥。提升操作人员划分四组,每组三人。绞磨机控制开关由一人专职负责。
2.根据施工过程中的重要方面和岗位以及容易发生问题的环节,做好物资准备。如备用钢钩马栓4个、50m钢丝绳4条、卡扣30个、方木若干根、索绳15条、电动绞磨1台。
3.网架提升作业时,由现场总指挥负责提升指挥工作。
4.参加人员要精神集中,不得擅离职守,嬉戏打闹,网架提升过程中网架底下严禁行人、站人。
5.提升作业区域四周拉设安全警示带,严禁非施工人员进入。设巡视员2名,作四周巡视工作。
6.提升作业前,认真检查提升设备是否运转正常,确认无误后方可起升。
7.提升索具、用电设备和工具必须班前检查,尤其是吊索发现问题及时处理,清除安全隐患。
8.提升作业时,指挥信号不明确不起升;提升物上有人不准起升;机构安全装置失灵带病时不准起升;现场光线阴暗看不清提升物起落点不准起升;五级以上强风不准起升。
9.凡地锚处均设专人看管,发现问题立即汇报,停止提升作业重新加固。
10.凡绳索紧固部位设专人监护,发现松动、损坏的马上更换。
11.各拔杆设专人看管如发现倾斜立即停止起升,进行调整到垂直位置,如发生起绳不同步时及时调整,各拔杆上标尺的高差超过250px时进行调整。
12.当网架提升时,两端设支撑架或方木,随网架提升进行支撑,以备发生问题。
13.绞磨机的制动要灵活有效,如发生问题立即制动。如遇停电,立即制动、锁死,并把网架支撑牢固。

BIM建筑网




评论前必须登录!
注册