根据《武汉市绿色建筑标识认定管理实施细则(试行)》、《绿色建筑评价标准GB/T50378》文件要求,经武汉市绿色建筑和建筑工业化专家委员会的专家评审,“新建居住、公园绿地项目(江岸区二七南片建设项目)1#-3#、5#-10#楼 ”等5个项目通过审查,现将项目名单(见附件)在武汉市城乡建设局网站予以公示,公示期为7个工作日。
公示期内,任何单位或个人如对公示项目有异议,可提出书面意见,单位须加盖公章,个人须留姓名、身份证号和联系电话。
联 系 人:张朗 联系电话:027-85791656
邮箱:1025444254@qq.com
地址:建设大道721号武汉建管大楼319室 邮编:430000
附件:武汉市2023年第二批绿色建筑标识认定(预评价)项目
武汉市城乡建设局
2023年8月16日
附件:
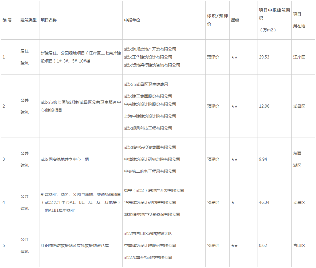
武汉市2023年第二批绿色建筑标识认定(预评价)项目

微信公众号:xuebim
关注建筑行业BIM发展、研究建筑新技术,汇集建筑前沿信息!
← 微信扫一扫,关注我们+

BIM建筑网

评论前必须登录!
注册