
新锐建筑事务所 Studio Saar 为印度跨国电子制造商 Secure Meters 在印度古吉拉特邦以汽车制造闻名的城市萨南德建成了一座专用工业厂房。SecureSanand的设计旨在创造一个令人振奋的工作环境,促进员工身心健康,同时降低能耗,包括最先进的生产设施、员工食堂和娱乐中心、一个面积在一到三英亩之间波动的季节性湖泊,以便收集雨水,并将在厂区内再种植 2000 棵树。


根据建筑师的设计,这座可扩建的厂房可分期建设,以便能够在记录时间内开始生产。客户将员工的福祉放在企业运营的首位,基于这一理念,这项雄心勃勃的开发项目为工人提供了一个包容性的环境,旨在促进沟通与协作,打破制造业工作环境中常见的壁垒和强烈的等级观念。Sanand 安全项目位于一个25英亩的场地上,前身是一片湖床,现已被重新利用并指定用于工业开发。Studio Saar 的总体规划在厂区内创建了三个不同的区域,分别用于生产流水线、员工休闲和访客。该方案由四栋建筑组成:主要生产设施、公用设施区、食堂、娱乐中心和接待楼。这些建筑由遮蔽的人行道连接在一起,人行道上覆盖着白色的、起伏的风筝状织物雨篷,既能遮挡风雨,又能作为导向工具引导用户穿过厂区。



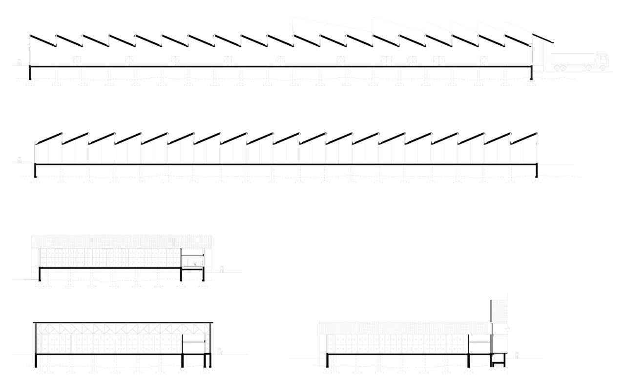
主要的生产侧翼由大型开放式空间组成,可以增加工作线,并具有高度的灵活性,以满足员工不断变化的需求。这些实用型建筑具有明确的设计语言,建筑结构和表面装饰采用了白色调,营造出一种轻快的氛围,而灰色石材覆层则使整个方案与周围环境融为一体。这些建筑以独特的锯齿形立面为特色,参考了早期的工业建筑,使自然光能够渗透到下面的工作区,并为太阳能电池板提供了空间,太阳能电池板产生的能源占总体能源需求的 50%。建筑采用高效热围护结构,隔热性能好,可减少建筑内部产生的热量,集成的地板冷却系统可改善建筑内部的冷却效果,为整个建筑提供舒适的工作环境。



入口大楼毗邻生产设施。该建筑由一个倾斜的开放式顶棚覆盖,欢迎访客入内参观,里面有会议室、APJ Abdul Kalum 培训室、更衣室和医疗中心。它的设计理念是开放和欢迎所有人。同时确保只有经过筛选的员工才能进入厂区。上层建筑独立于下面的吊舱,使 Secure 公司能够在不影响整体的情况下,对每个单独的组件进行变形使用。


食堂和娱乐中心位于开发项目的中心位置,其设计与生产和公用设施建筑的白色功能性外观相呼应,为该项目增添了不少趣味性。裸露的混凝土与特色的耐候钢入口遮篷形成对比,将休闲区与周围的工作区域区分开来。建筑内设有健身房、娱乐区、食堂和厨房,可从 300 度的角度眺望周围的树木,旨在为员工营造轻松愉悦的氛围。该建筑可以形成一个热堆栈,宽大的悬臂可以保护建筑免受阳光照射。空气通过水源冷却被冷却,并在建筑内循环。




在 Covid-19 大流行期间的四个月里,食堂被重新利用,为工人提供临时住所,使他们能够继续工作并养家糊口,这进一步体现了该方案的灵活性。该建筑的多功能厅设计使 Secure 公司能够创建单人住宿单元,其中包括一张床、一个小型储藏室和用于电子设备充电的电源。通过定制的通风系统,空气经过被动和主动通风系统的处理,达到了大流行期间员工健康所需的最高空气质量标准。




由于该地块存在潜在的洪水风险,开发项目中包含了一个季节性湖泊,在季风时期,湖泊面积会从一英亩扩大到三英亩,从而使雨水能够百分之百地汇集到现场,并长时间储存在湖泊中。湖泊周围有地下水补给井,可将水慢慢过滤回指定的地下储水层。为了加强用户与自然的联系,进出厂区的道路两旁种植了 600 棵新树,为工人们提供了一个顺畅、愉悦的工作和回家之旅。为保护鸟类栖息地,保留了工地上现有的树木,这些树木是一群织布鸟的家园。未来还将在周边地区再种植 2000 棵树,为员工的福祉和客户对植树造林的持续承诺做出进一步贡献。








项目图纸

△模型图

△食堂一层二层平面图

△食堂屋顶和天花平面图

△食堂剖面、立面图

△入口建筑平面、立面、剖面图

△生产设备平面图

△生产设备剖面图、立面图
项目信息
建筑师: Studio Saar
项目年份: 2021
委托方: Secure Meters Ltd
建筑设计: AMI Engineers
暖通顾问: Anjaria and Associates
结构工程师: Studio Saar
地点: 印度,Sanand

BIM建筑网





评论前必须登录!
注册