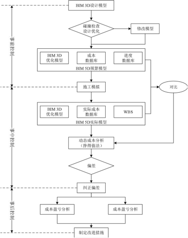
施工阶段,必须做到动态控制成本。在运用BIM的基础上,构建动态控制流程,能够有效提高该阶段的成本控制水平,如图所示。事前控制、事中控制和事后控制是BIM5D施工成本控制的主要阶段。

(1)事前控制。首先,基于BIM3D模型对设计方案进行检查,排查出存在的冲突碰撞问题,如果存在问题,在第一时间就与业主、设计单位沟通,商量制定方案解决问题,进而优化完善模型。接着,用优化后的模型完成算量,明确各分项工程的工程量;最后,设计施工方案,并选出最佳方案,进而编制施工进度计划。BIM5D预算模型是事前控制这一阶段的主要成果。
(2)事中控制。首先,在施工正式开始之前,模拟日计划、周计划、月计划中的施工任务,以发现在施工过程可能出现的问题,并提前制定解决方案,用来指导喜爱南昌施工,严格保证按进度施工;接着,根据施工工作分解结构,统计项目的成本信息数据,从而构建实际的BIM5D模型;最后,比较BIM5D的实际模型与计划模型,保证工程项目是按照计划进度执行,一旦实际与计划发生偏差,就利用进度分析方法找出偏差产生的原因,进而提出解决偏差的方案。BIM5D实际模型和解决偏差是事中控制这一阶段的主要成果。
(3)事后控制。在分项工程或整个项目结束后,根据结果分析项目的成本盈亏、计划与实际的偏差,并进行总结,进而对项目实施过程中的成本和进度管理方案进行完善补充。BIM5D技术可以深层次分析出成本产生偏差和成本盈亏的原因,因为通过它可以将成本控制的纬度细分到分项、楼层、施工面、构件等程度,这有利于从根本上进行成本控制,做到动态控制成本。
微信公众号:xuebim
关注建筑行业BIM发展、研究建筑新技术,汇集建筑前沿信息!
← 微信扫一扫,关注我们+

BIM建筑网





评论前必须登录!
注册