BIM是BuildingInformationModeling的缩写,即建筑信息模型。1976年美国乔治亚理工大学的ChuckEastman教授提出了“建筑产品模型”(BuildingProductModel)这一概念。后来,这一概念经历了多次发展与重新定义,到2002年,在Autodesk公司的官方宣传文案中,BIM作为“BuildingInformationModeling”的缩写,代替了“BuildingProductModel”首次出现,之后BIM这一术语被业内广泛接受。美国建筑信息模型标准项目委员会(NBIMS)将BIM定义是参与各方可以共享的数字资源,是工程项目或者设施的物理特性和功能方面特性的数字表示,是在工程项目全寿命期的各个阶段支持和反映项目参与各方自身职责的协同作业,是为工程项目从概念阶段到拆除阶段的全寿命期中的各种决策提供可靠的依据的一个过程。这一定义获得了最广泛的认可。
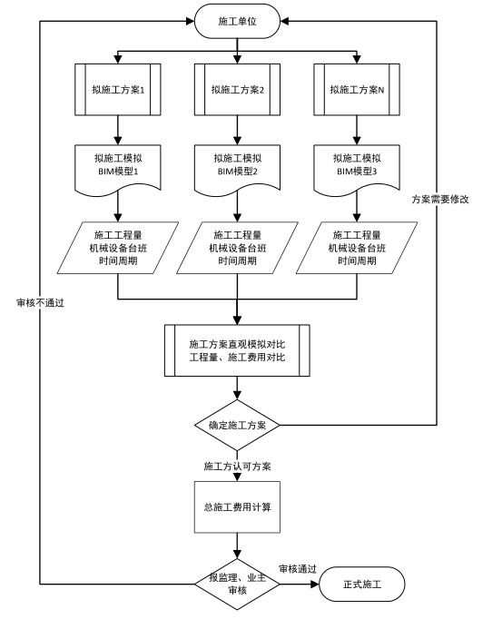
基于BIM的地铁工程施工方案制定基本流程如流程图1所示:

A.由施工单位就施工内容进行总体规划,提出多种施工方案;
B.进行施工方案模拟BIM建模;
C.针对多个方案分别导出施工实体工程量,施工机械台班以及人工数量;
D.多方案进行可操作性(动画模拟)和经济性的对比;
E.修正或选择最合理的施工方案;
F.重要节点工作应报送监理单位及业主单位进行确认;
G.确认无误即可进行施工。
微信公众号:xuebim
关注建筑行业BIM发展、研究建筑新技术,汇集建筑前沿信息!
← 微信扫一扫,关注我们+

BIM建筑网





评论前必须登录!
注册